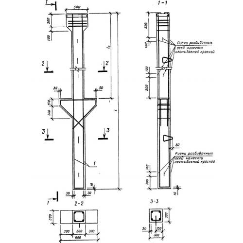
2СД 55

Чертеж изделия:
Характеристики изделия:
ПараметрЗначение
длина5500 мм
ширина300 мм
высота300 мм
масса1400 кг
нормативный документГОСТ 19804.7-83

2СД 55  Сваи-колонны двухконсольные средние с уширением верха ГОСТ 19804.7-83.