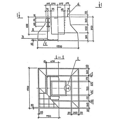
2Ф 15.9 фундаменты под колонны

Чертеж изделия:
Характеристики изделия:
ПараметрЗначение
длина1500 мм
ширина1500 мм
высота900 мм
масса3000 кг
нормативный документГОСТ 24476-80

2Ф 15.9 Фундаменты сборные для колонн ГОСТ 24476-80.