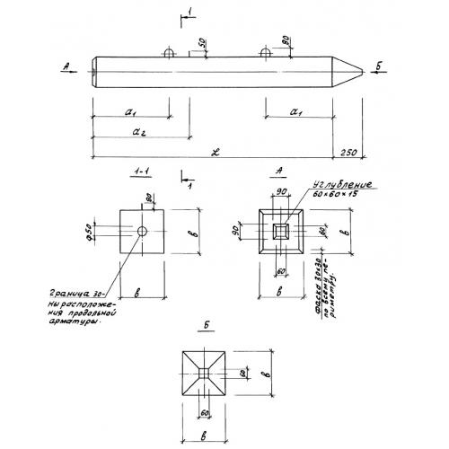
СЦпр 7-30
Характеристики изделия:
| Параметр | Значение |
|---|---|
| длина | 7000 мм |
| ширина | 300 мм |
| высота | 300 мм |
| масса | 1600 кг |
| нормативный документ | Серия 1.011-6 |
Цена:
Рассчитать стоимостьСЦпр 7-30 Свая квадратного сечения без поперечного армирования ствола (центральное армирование высокопрочной проволокой) (Серия 1.011-6).
