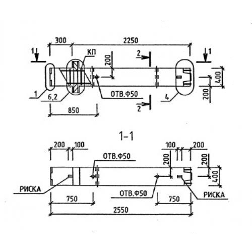
1КВ колонны

Чертеж изделия:
Характеристики изделия:
ПараметрЗначение
длина2550 мм
ширина400 мм
высота400 мм
масса1080 кг
нормативный документСерия 1.020-1/83

1КВ  Колонны Серия 1.020-1/83.