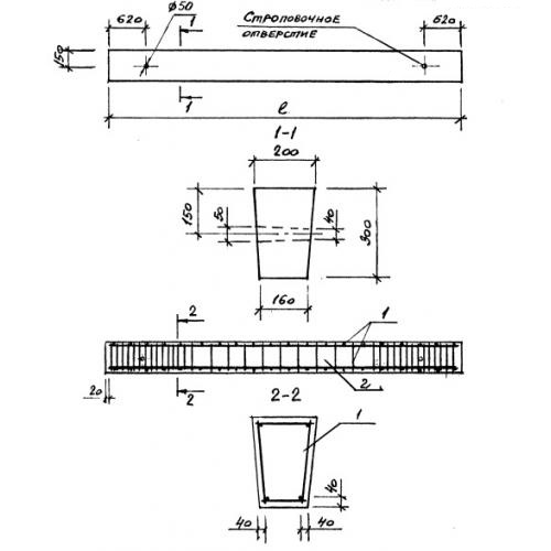
ФБ 45-20 балки фундаментные

Чертеж изделия:
Характеристики изделия:
ПараметрЗначение
длина4450 мм
ширина200 мм
высота300 мм
масса600 кг
нормативный документСерия 1.415-1

ФБ 45-20  Балки фундаментные Серия 1.415-1.