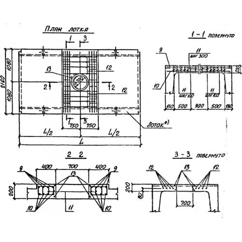
Ло 20

Чертеж изделия:
Характеристики изделия:
ПараметрЗначение
длина5970 мм
ширина2160 мм
высота1040 мм
вес7770 кг
серия3.006-2

Ло 20 Лотки теплотрасс с отверстием  по серии 3.006-2.