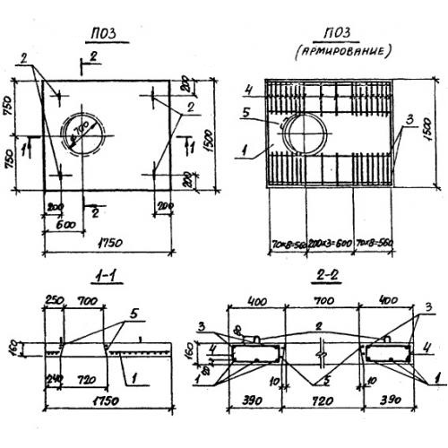
ПО 3

Чертеж изделия:
Характеристики изделия:
ПараметрЗначение
длина1750 мм
ширина1500 мм
высота160 мм
масса900 кг
нормативный документСерия 3.006.1-2/82

ПО 3  Плиты перекрытия лотков с отверстием Серия 3.006.1-2/82.