ПН 2
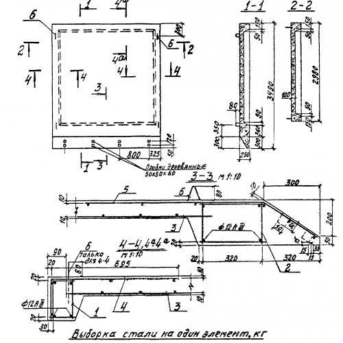
Характеристики изделия:
| Параметр | Значение |
|---|---|
| длина | 3490 мм |
| ширина | 2980 мм |
| высота | 250 мм |
| вес | 3300 кг |
| серия | 3.702-1/79 |
Цена:
Рассчитать стоимостьПН 2 Плиты надсилосных перекрытий силосных корпусов по серии 3.702-1/79.
| Параметр | Значение |
|---|---|
| длина | 3490 мм |
| ширина | 2980 мм |
| высота | 250 мм |
| вес | 3300 кг |
| серия | 3.702-1/79 |
ПН 2 Плиты надсилосных перекрытий силосных корпусов по серии 3.702-1/79.
