ПК 15

Чертеж изделия:
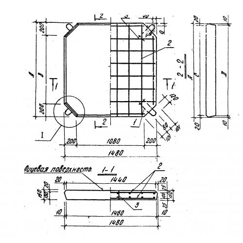
Характеристики изделия:
ПараметрЗначение
длина1480 мм
ширина1480 мм
высота150 мм
масса853 кг
нормативный документСерия 3.820-15

ПК 15 Плиты, предназначенные для укладки на гребень плотины под проезжую часть по Серии 3.820-15.