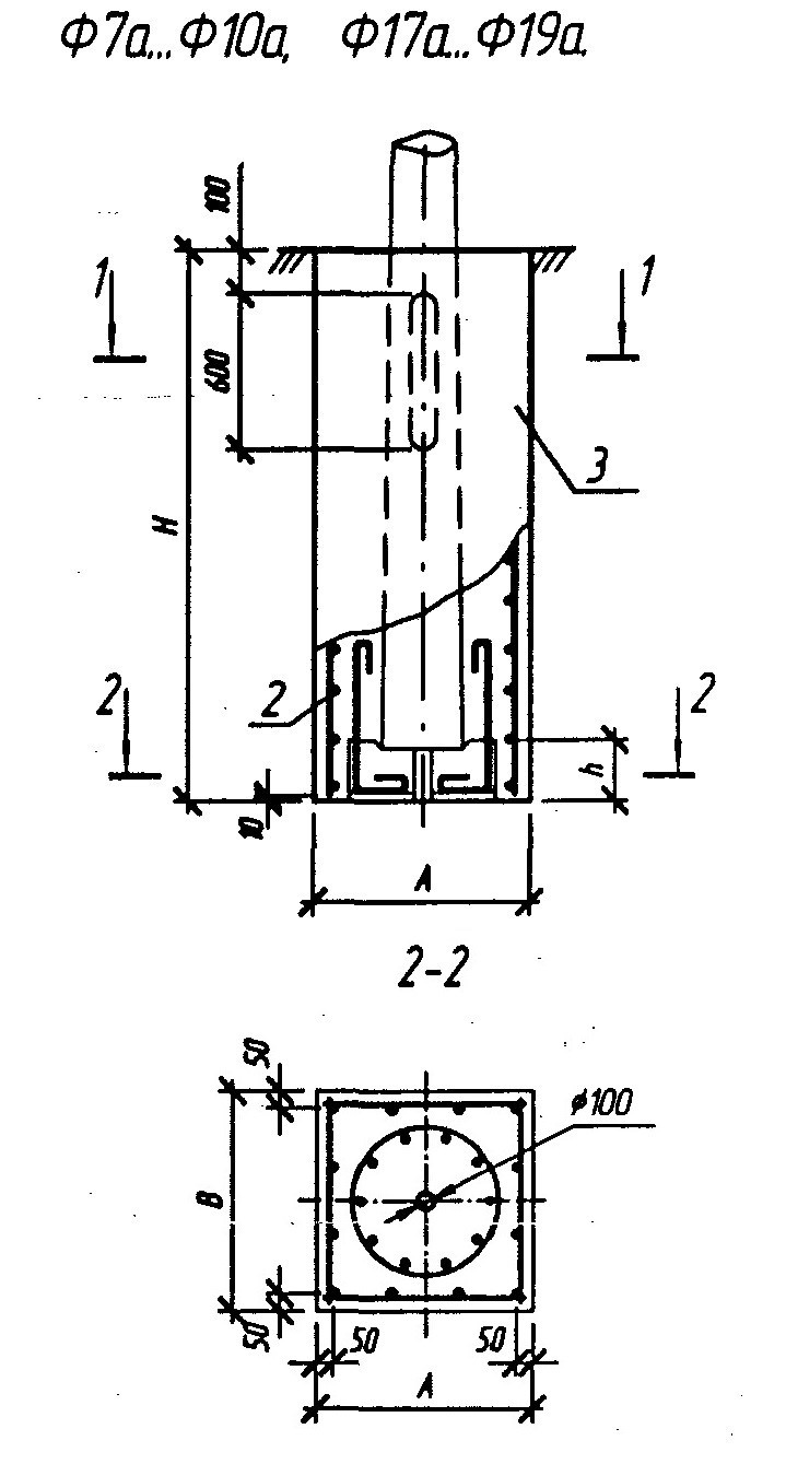
Ф 18 а

Чертеж изделия:
Характеристики изделия:
ПараметрЗначение
Высота Н2700 мм
Высота h250 мм
Длина А1400 мм
Ширина В1400 мм
Вес12225 кг
СерияБ3.507.1-3.04
Норма погрузки на машину (20тн)1 шт
Вагонная норма погрузки-

Фундамент Ф 18 а изготавливается из тяжелого бетона и предназначен для установки стоек СКЦ согласно нормам серии Б3.507.1-3.04.