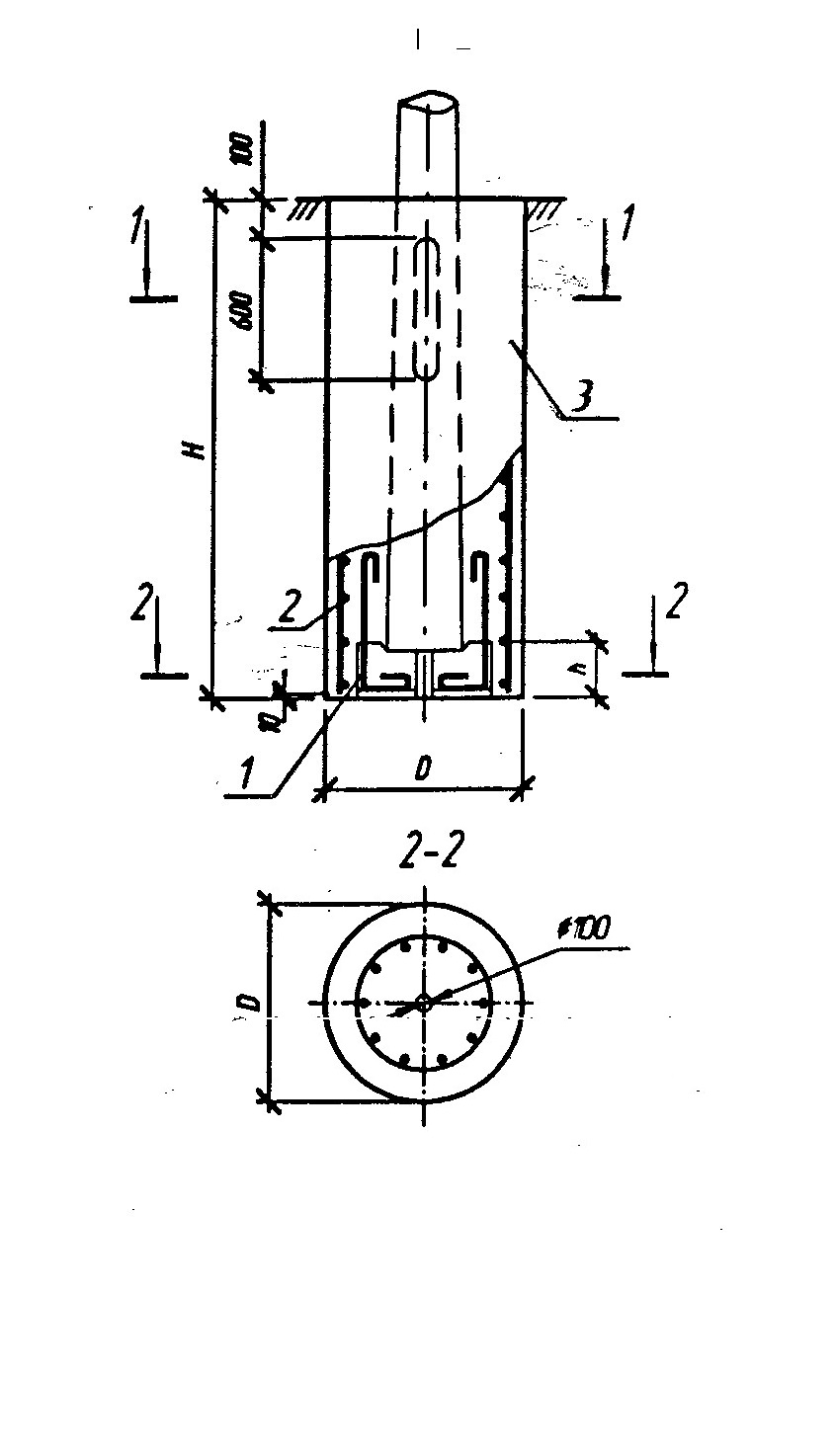
Ф 7

Чертеж изделия:
Характеристики изделия:
ПараметрЗначение
Высота Н2200 мм
Высота h250 мм
Диаметр D1200 мм
Вес5600 кг
СерияБ3.507.1-3.04
Норма погрузки на машину (20тн)3 шт
Вагонная норма погрузки-

Фундамент Ф 7 изготавливается из тяжелого бетона и предназначен для установки стоек СКЦ согласно нормам серии Б3.507.1-3.04.